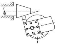
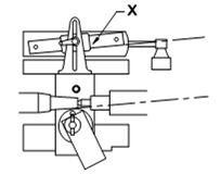
Taper Turning – ITI NIMI Mock Test Turner Theory 1st YearTest Taper Turning (टेपर टर्निंग) – ITI NIMI Mock Test Turner Theory 1st Year Taper Turning - ITI NIMI Mock Test Turner Theory 1st Year 1 / 511. Q. How many seconds is 1°? | 1° में कितने सेकंड्स है? A) 60° B) 360 C) 3600 D) 36000 2 / 512. Q. Which part of the combination set is shown below? | कॉम्बिनेशन सेट का कौन सा भाग नीचे दर्शाया गया है? A) Protractor head | प्रोटेक्टर हेड B) Square heads | स्क्वायर हेड C) Rule | रूल D) Centre head | सेंटर हेड 3 / 513. Q. Read the angle? | कोण का पठन कीजिये? A) 55° - 40' B) 50° 20 C) 45° - 23 D) 49° 20' 4 / 514. Q. What is the name of the process? | प्रक्रिया का नाम क्या है? A) Gas welding | गैस वेल्डिंग B) Braze welding | ब्रेज वेल्डिंग C) Arc welding | आर्क वेल्डिंग D) Spot welding | स्पॉट वेल्डिंग 5 / 515. Q. Which type of measurement is taken using vernier bevel protractor? | वर्नियर बेवल प्रोट्रैक्टर का उपयोग करके किस प्रकार का माप लिया जाता है? A) Checking obtuse angle | अधिक कोण की जाँच करना B) Checking squareness | वर्गकारिता की जाँच करना C) Checking straight angle | ऋजु कोण की जांच करना D) Checking reflex angle | प्रतिवर्त कोण की जांच करना 6 / 516. Q. Which method of brazing is commonly used to braze of carbide tip on a shank? | ब्रेज़िंग की कौन सी विधि कार्बाइड टिप को शेंक में ब्रेज करने के लिए प्रयोग होती है? A) Furnace brazing | फर्नेस ब्रेजिंग B) Induction brazing | इंडक्शन ब्रेजिंग C) Arc brazing | आर्क ब्रेजिंग D) Torch brazing | टोर्च ब्रेजिंग 7 / 517. Q. Select a suitable instrument for measuring angles? | कोणीय मापन के लिए उपयुक्त यंत्र का चयन करें? A) Vernier caliper | वर्नियर कैलीपर्स B) Calipers | कैलीपर्स C) Vernier bevel protractor | वर्नियर बेवल प्रोट्रेक्टर D) Vernier height gauge | वर्नियर हाइट गेज 8 / 518. Q. Why the ball centre is preferred in tail stock offset method? | टेल स्टॉक ओफ़्सेट विधि में बॉल सेंटर को क्यों प्राथमिकता दी जाती है? A) For good surface finish | सतह की अच्छी फिनिश के लिए B) For accurate setting | सटीक सेटिंग के लिए C) For provide power feed | पॉवर फीड देने के लिए D) To avoid damage to the centre drilled hole of the job | कार्य पर किए गए केंद्र छिद्र को छतिग्रस्त होने से बचाने के लिए 9 / 519. Q. Which welding method is more suitable for joining dissimilar metals readily? | Hool Exq3t ont शीघ्रता से जोड़ने के लिए उपयुक्त वेल्डिंग प्रक्रिया कौन सी होगी? A) Braze welding | ब्रेज वेल्डिंग B) Arc welding | आर्क वेल्डिंग C) Tig welding | TIG वेल्डिंग D) Gas welding | गैस वेल्डिंग 10 / 5110. Q. What is the purpose of welding accessory? | वेल्डिंग के सहायक उपकरणों का क्या उद्देश्य है? A) To hold the work firmly | कार्य को दृढ़ता से पकड़ना B) To connect the return lead firmly to the job or table | रिटर्न लीड को टेबल अथवा कार्य के साथ जोड़ना C) To hold the electrode for welding | इलेक्ट्रोड को वेल्डिंग के लिए पकड़ना D) o handle the hot material after welding | वेल्डिंग के उपरांत गर्म धातु को हैंडल करना 11 / 5111. Q. which is the type of gas flame? | ज्वाला का प्रकार कौन सा है? A) Neutral flame | उदासीन ज्वाला B) Oxidising flame | ऑक्सीकारक ज्वाला C) Carburising flame | कारबूराइजिंग ज्वाला D) Natural flame | प्राकृतिक ज्वाला 12 / 5112. Q. How is the filler material distributed in the joint in braze welding? | फिलर सामग्री को ब्रेज वेल्डिंग के जोड़ में किस प्रकार वितरित किया जाता है? A) By splashing | छिटक कर B) By fission | विखंडन से C) By fusion | संलयन द्वारा D) By capillary action | केशिका क्रिया द्वारा 13 / 5113. Q. Which material is used for making nozzle for gas welding? | गैस वेल्डिंग की नोजल बनाने के लिए किस सामग्री का पर्योग किया जाता है? A) Mild steel | मृदु इस्पात B) High carbon steel | उच्च कार्बन इस्पात C) Copper | तांबा D) Bronze | पीतल 14 / 5114. Q. Calculate the least count of V.B.P if 23 div on main scale is divided into 12 equal parts | वर्नियर बेवल प्रोटेक्टर का अल्पत्मांक ज्ञात कीजिये यदि इसमें मुख्य पैमाने के 23 भागों को 12 बराबर भागों में बांटा जाता है? A) 1° - 50° B) 100’ C) 28’ D) 5’ 15 / 5115. Q. Which instrument can measure angle upto an accuracy of 5 minutes? | कौन सा यंत्र 5 मिनिट तक की शुद्धता से कोण माप सकता है? A) Bevel gauge | बेवल गेज B) Combination set | कॉम्बिनेशन सेट C) Vernier bevel protractor | वर्नियर बेवल प्रोटेक्टर D) Angle gauge | एंगल गेज़ 16 / 5116. Q. What should be the heights of gauge block to be built to check the work angle of 30° using 150 mm sine bar? | यदि कार्य का कोण 30° हो तो उसे 150 मिमि साइन बार का प्रयोग कर कोणीय मापन के लिए कितनी ऊँचाई का गेज़ ब्लॉक बनाना होगा? A) 291.26 B) 145.63 C) 75.00 D) 38.62 17 / 5117. Q. Which material is used for making the head of soldering iron? | सोल्डरिंग आयरन का सिरा बनाने के लिए किस सामग्री का प्रयोग किया जाता है? A) Forged copper | पिटवा तांबा B) Forged steel | पिटवा लोहा C) Forged aluminium | पिटवा एल्यूमीनियम D) Stainless steel | स्टेनलेस स्टील 18 / 5118. Q. Calculate the least count of V.B.P if 23 div on main scale is divided into 12 scale divisions | V.B.P की सबसे कम संख्या की गणना करें यदि मुख्य पैमाने पर 23 div को 12 पैमाने के विचलन में विभाजित किया गया है? A) 3’ B) 5’ C) 4’ D) 2’ 19 / 5119. Q. What is the name of device? | युक्ति का नाम क्या है? A) Soldering iron | सोल्डरिंग आयरन B) Copper hammer | तांबे का हथौड़ा C) Soldering gun | सोल्डरिंग आयरन D) Soldering torch | सोल्डरिंग टोर्च 20 / 5120. Q. What is the method of carbide tipped tool brazing? | कार्बाइड टिप्पड टूल ब्रेजिंग की विधि कौन सी है? A) Furnace brazing | फर्नेस ब्रेजिंग B) Induction brazing | इंडक्शन ब्रेजिंग C) Torch brazing | टोर्च ब्रेजिंग D) Arc brazing | आर्क ब्रेजिंग 21 / 5121. Q. What is the main disadvantage of a braze welded joints? | ब्रेजिंग द्वारा वेल्ड किए गए जोड़ों की मुख्य हानि क्या है? A) The joint not suitable for thicker sections | यह जोड़ मोटे सेक्शन के लिए उपयुक्त नहीं है। B) Dissimilar metals can be joined | भिन्न धातुओं को जोड़ा जा सकता है। C) It take more time for repairing | इसमें मरम्मत के लिए अधिक समय लगता है। D) Heavy distortion due to heat | ऊष्मा भारी विरूपण 22 / 5122. Q. Which method is used for turning steep taper? | तीक्ष्ण टेपर बनाने के लिए किस विधि का प्रयोग किया जाता है? A) Form tool | फॉर्म टूल B) Offset tail stock | टेल स्टॉक ओफ़्सेट C) Compound slide swivel | कंपाउंड स्लाइड स्विवेल D) Taper turning attachment | टेपर टर्निंग अटैचमेंट 23 / 5123. Q. Identify the method of taper turning? | टेपर टर्निंग की विधि पहचानिए? A) Form tool | फॉर्म टूल B) Offset | ओफ़्सेट C) Compound slide | कंपाउंड स्लाइड D) Taper turning attachment | टेपर टर्निंग अटैचमेंट 24 / 5124. Q. How is the “length of sine bar “specified? | ‘साइन बार की लंबाई’ कैसे निर्दिष्ट करते है? A) Distance between the centres of the rollers | रोलर्स के केन्द्रों के बीच की दूरी B) Length of datum surface | डेटम सतह की लम्बाई C) Length of the rollers | रोलर्स की लम्बाई D) Total length of the sine bar | साइन बार की कुल लम्बाई 25 / 5125. Q. Which part of the lathe is locked while the form tool method is used for turning taper? | फॉर्म टूल विधि से टेपर टर्निंग के दौरान लेथ का कौन सा भाग लॉक किया जाता? A) Compound rest | कंपाउंड रेस्ट B) Carriage | कैरिज C) Tail stock | टेल स्टॉक D) Head stock | हेड स्टॉक 26 / 5126. Q. What does the letter Y stands in the equation d = Y – 2 (s+r) in taper measurement? | टेपर मापन के समीकरण d=Y-2 (s+r) में अक्षर Y क्या प्रदर्शित करता है? A) Diameter over the rollers at small end | छोटे सिरे पर रोलर के ऊपर व्यास B) Diameter over on rollers at big end | बड़े सिरे पर रोलर के ऊपर व्यास C) Radius of the roller | रोलर की त्रिज्या D) Distance from the centre of the raller to the end of the component | रोलर के केंद्र से कॉम्पोनेन्ट के किनारे तक की दूरी 27 / 5127. Q. What is the name of the cleaning tool? || सफाई औजार का नाम क्या है? A) Cross peen hammer | क्रॉस पीन हथौड़ा B) Chipping hammer | चिप्पिंग हथौड़ा C) Straight peen hammer | सीधा पीन हथौड़ा D) Ball peen hammer | गेंद पीन हथौड़ा 28 / 5128. Q. What is the use of a sine bar? | साइन बार का क्या उपयोग है? A) To determine the angle of tapered job | टेपरिकृत कार्य के कोण को मापने के लिए B) To measure the length of a taper job | टेपरिकृत कार्य की लम्बाई को मापने के लिए C) To measure the gap | गैप को मापने के लिए D) To measure the diameter of the job | कार्य के व्यास को मापने के लिए 29 / 5129. Q. What is the accuracy of the protractor head of a combination set? | कॉम्बिनेशन सेट के प्रोटेक्टर हेड की परिशुद्धता क्या होगी? A) 1° B) 5’ C) 1’ D) 1” 30 / 5130. Q. Which is the smallest unit of angular measurement? | कोणीय मापन की सूक्ष्मतम इकाई कौन सी है? A) Radian | रेडियन B) Degree | डिग्री C) Minutes | मिनिट्स D) Seconds | सेकंड्स 31 / 5131. Q. Which method is preferred for producing small length taper with least accuracy? | न्यूनतम शुद्धता के साथ कम लम्बाई का टेपर बनाने के लिए किस विधि को प्राथमिकता दी जाती है? A) Form tool method | फॉर्म टूल विधि B) Compound slide method | कंपाउंड स्लाइड विधि C) Tail stock offset method | टेल स्टॉक ओफ़्सेट विधि D) Taper turning attachment method | टेपर टर्निंग अटैचमेंट विधि 32 / 5132. Q. What does the letter 'S' stands in the equation d=Y-2 (s+r) in taper measurement? | टेपर मापन के समीकरण d=Y-2 (s+r) में अक्षर s क्या प्रदर्शित करता है? A) Diameter over the roller at large end | बड़े सिरे पर रोलर का व्यास B) Diameter over the rollers at small end | छोटे सिरे पर रोलर का व्यास C) Radius of the rollers | रोलर्स की त्रिज्या D) Distance from the centre to the roller of the end of the component | रोलर के केंद्र से कॉम्पोनेन्ट के किनारे तक की दूरी 33 / 5133. Q. Which part is pivoted to the disc of vernier bevel protractor? | कौन सा हिस्सा वर्नियर बेवल प्रोट्रैक्टर की डिस्क को पिवोट किया जाता है? A) Disc | डिस्क B) Stock | स्टॉक C) Dial | डायल D) Blade | ब्लेड 34 / 5134. Q. Which part of the combination set is used for measuring the angles? | कॉम्बिनेशन सेट के किस भाग को कोणीय मापन में प्रयोग किया जाता है? A) Protractor head | प्रोटेक्टर हेड B) Square head | स्क्वायर हेड C) Centre head | सेंटर हेड D) Rule | रूल 35 / 5135. Q. What is height of slip packing to determine the taper angle? | टेपर कोण ज्ञात करने के लिए स्लिप पैकिंग क्या होगी? A) X B) Y C) Z D) 2H 36 / 5136. Q. What is the reading of angular measurement based on Vernier bevel protractor? | वर्नियर बेवल प्रोटेक्टर द्वारा कोणीय मापन का पठन क्या होगा? A) 52° 45’ B) 67° 15° C) 52° D) 67° 37 / 5137. Q. How to measure the diameter of the small end of a external taper precisely? | बाह्य टेपर के लघु सिरे का व्यास किस प्रकार मापा जाता है? A) Sine bar | साइन बार B) Precision roller with slip gauge | परिशुद्ध रोलर्स स्लिपगेज़ के साथ C) Vernier calipers | वर्नियर कैलिपर D) Screw gauge | स्क्रू गेज़ 38 / 5138. Q. Calculate the amount of off-set if total length of job = 80 mm and tan = 5°45'? | ओफ़्सेट की मात्रा ज्ञात कीजिये यदि कार्य की कुल लम्बाई 80 मिमि और tan = 5°45' हो? A) 10 mm B) 7 mm C) 8 mm D) 12 mm 39 / 5139. Q. What is the name of part marked as 'X'? | 'x' नामक भाग का नाम क्या है? A) Carbide trip | कार्बाइड टिप B) Hard solder | हार्ड सोल्डर C) Cutting edge | कर्तन धार D) High carbon steel shank | उच्च कार्बन स्टील शेंक 40 / 5140. Q. What is the isolating medium to prevent rapid cooling after brazing a tipped tool? | टिप्पड़ टूल की ब्रेजिंग के पश्चात उसे शीघ्रता से ठंडा होने से रोकने के लिए किस पृथक्कीकरण माध्यम का प्रयोग किया जाता है? A) Water | जल B) Mica powder | अभ्रक चूर्ण C) Oil | आयल D) Wet sand | गीली बालू 41 / 5141. Q. Which is the advantage of taper turning by compound slide method? | कंपाउंड स्लाइड विधि द्वारा टेपर टर्निंग का लाभ क्या है? A) Steep taper can be produced | तीक्ष्ण टेपर का उत्पादन किया जा सकता है। B) Long taper can be produced | लंबी टेपर का उत्पादन किया जा सकता है। C) Thread on taper portion can be produced | टेपर भाग पर थ्रेड का उत्पादन किया जा सकता है। D) Most suitable for duplicate taper work | डुप्लिकेट टेपर कार्य के लिए सबसे उपयुक्त है। 42 / 5142. Q. Identify the method of taper turning? | टेपर टर्निंग की विधि पहचानिए? A) Form tool method | फॉर्म टूल विधि B) Compound slide method | यौगिक स्लाइड विधि C) Tail stock offset method | टेल स्टॉक ओफ़्सेट विधि D) Taper turning attachment method | टेपर टर्निंग अटैचमेंट विधि 43 / 5143. Q. Which one is the disadvantage of taper turning by compound slide method? | निम्न में से कंपाउंड स्लाइड विधि द्वारा टेपर टर्निंग की हानि कौन सी है? A) Only external taper can be turned toda बाहरी टेपर को ही खराद किया जा सकता है। B) Damages the centre drilled holes of the work | कार्य के केंद्र पर किए छिद्रों को नुकसान पहुंचाता है। C) Steep taper cannot be produced at&ut sich का उत्पादन नहीं किया जा सकता है। D) Taper length is limited to the movement of the top slide | टेपर की लंबाई टॉपस्लाइड के चालन तक सीमित है। 44 / 5144. Q. Which is the welding process, if base metal and filler is melted to form the joint? | अगर जोड़ बनाने के लिए बेस धातु और फिलर दोनों पिघलते हो तो वेल्डिंग प्रक्रिया कौन सी होगी? A) By braze welding | ब्रेज वेल्डिंग के द्वारा B) By arc welding | आर्क वेल्डिंग के द्वारा C) By gas welding | गैस वेल्डिंग के द्वारा D) By tig welding | TIG वेल्डिंग के द्वारा 45 / 5145. Q. What is the method of carbide tip brazing? | कार्बाइड टिप्पड ब्रेजिंग की विधि कौन सी है? A) Furnace brazing | फर्नेस ब्रेजिंग B) Induction brazing | इंडक्शन ब्रेजिंग C) Torch brazing | टोर्च ब्रेजिंग D) Arc brazing | आर्क ब्रेजिंग 46 / 5146. Q. Which one is the disadvantage of using tail stock offset method? | टेल स्टॉक ओफ़्सेट विधि की हानि क्या है? A) Only hand feed can be given andet stel GORI फीड दी जा सकती है। B) External threads on taper can't produce | टेपर पर बाहरी चूड़ी का उत्पादन नहीं किया जा सकता है। C) Taper length is limited | टेपर की लंबाई सीमित D) Taper turning is possible when work held between centre only | केवल केंद्र के बीच कार्य होने पर टेपर खराद संभव है। 47 / 5147. Q. Which part is marked as 'x'? | 'x' द्वारा चिह्नित किया गया भाग कौन सा है? A) Disc | डिस्क B) Dial | डायल C) Blade | ब्लेड D) Stock | स्टॉक 48 / 5148. Q. Convert 8° 44’ into minutes? | 8° 44’ को मिनिट में परिवर्तित कीजिये? A) 424 B) 428 C) 524 D) 536 49 / 5149. Q. Identify the part named as 'x' in a taper turning attachment? | टेपर टर्निंग अटैचमेंट में 'x' नामक भाग को पहचानें? A) Locking screw | लॉकिंग स्क्रू B) Box nut | बॉक्स नट C) Guide bar | गाइड बार D) Base plate | बेस प्लेट 50 / 5150. Q. What is the name of part marked as 'X'? | 'X' नामक भाग का नाम क्या है? A) Tool shank | टूल शेंक B) Carbide tool bit | कार्बाइड टूल बिट C) Induction coil | इंडक्शन कोइल D) Cutting edge | कर्तन धार 51 / 5151. Q. What is the purpose of the beveled edges of the rule in a vernier bevel protractor? | वर्नियर बेवल प्रोटेक्टर के रूल के किनारों को बेवल किए जाने का उद्देश्य क्या है? A) Checking squreness | चौकोरपन की जाँच करना B) Checking flatness | समतलता की जाँच करना C) Checking 45° and 60° | 45 ° और 60° की जाँच D) Checking parallelism | समानतरता की जाँच करना Your score is Facebook Restart