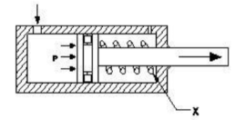
Hydraulic and Pneumatics – ITI Mock Test Fitter 2nd Year TheoryTest Hydraulic and Pneumatics (हाइड्रोलिक और न्यूमेटिक्स) – ITI Mock Test Fitter 2nd Year Theory Hydraulic and Pneumatics - ITI Mock Test Fitter 2nd Year Theory 1 / 381. Which valve is used for fine control of flow in pipe line? | पाइप लाइन में प्रवाह के महीन नियंत्रण (फाइन कण्ट्रोल) के लिए किस वाल्व का उपयोग किया जाता है? A) Gate valve | गेट वाल्व B) Globe valve | ग्लोब वाल्व C) Needle valve | नीडल वाल्व D) Non - return valve | नॉन रिटर्न वाल्व 2 / 382. Which gauge indicates the amount of fluid pressure in the hydraulic system? | कौन सा गेज हाइड्रोलिक सिस्टम में द्रव दबाव की मात्रा को इंगित करता है? A) Vacuum gauge | वैक्यूम गेज B) Pressure gauge | प्रेशर गेज C) Fluid gauge | फ्लूड गेज D) Pneumatic gauge | न्यूमेटिक गेज 3 / 383. Which pressure value is read through pressure gauge? | प्रेशर गेज के माध्यम से किस दबाव मान को पढ़ा जाता है? A) Gauge Pressure | गेज प्रेशर B) Atmospheric Pressure | वायुमण्डलीय दबाव C) Vacuum Pressure | वैक्यूम दबाव D) Absolute Pressure | परम दबाव 4 / 384. Which formula is used to calculate the absolute pressure? | निरपेक्ष दबाव (ऐब्सलूट प्रेशर) की गणना करने के लिए किस सूत्र का उपयोग किया जाता है? A) Atmospheric Pressure - Gauge Pressure | वायुमंडलीय दबाव - गेज दबाव B) Atmospheric Pressure + Gauge Pressure | वायुमंडलीय दबाव + गेज दबाव C) Gauge Pressure | वायुमंडलीय दबाव x गेज दबाव D) Gauge Pressure || वायुमंडलीय दबाव गेज दबाव 5 / 385. Which device in pneumatics is used for converting pressure energy of compressed air in to mechanical energy? | न्यूमेटिक में किस उपकरण का उपयोग संपीड़ित हवा के दबाव ऊर्जा को यांत्रिक ऊर्जा में परिवर्तित करने के लिए किया जाता है? A) Pneumatic actuators | न्यूमेटिक ऐक्ट्यू ऐटर B) Filter | फ़िल्टर C) Regulator | रेगुलेटर D) Cylinder | सिलेंडर 6 / 386. What is the unit of pressure in SI unit? | SI इकाई में प्रेशर की इकाई क्या है? A) Kilogram | किलोग्राम B) Pascal | पास्कल C) Pound | पौंड D) Meter | मीटर 7 / 387. How direction control valves are classified? | दिशा नियंत्रण वाल्वों को कैसे वर्गीकृत किया जाता है? A) Number of ports and position | भागो और पोजीशन की संख्या B) Direction of flow | प्रवाह की दिशा C) Maximum pressure of valve died | अधिकतम दबाव D) Direction of pressure | दबाव की दिशा 8 / 388. What is the name of the part marked as 'x' in non-return valve? | नॉन-रिटर्न वाल्व में x के रूप में चिह्नित भाग का नाम क्या है? A) Disc | डिस्क B) Stop plug | स्टाप प्लग C) Hinge pin | हिंज पिन D) Disc hinge nut | डिस्क हिंग नट 9 / 389. Which valve protect against excessive pressure in hydraulic system? | कौन सा वाल्व हाइड्रोलिक सिस्टम में अत्यधिक दबाव से बचाता है? A) Gate valve | गेट वाल्व B) Globe valve | ग्लोब वाल्व C) Relief valve | रिलीफ वाल्व D) Non-return valve | नॉन रिटर्न वाल्व 10 / 3810. What is the unit of force in SI unit? | SI इकाई में बल की इकाई क्या है? A) Kilogram | किलोग्राम B) Newton | न्यूटन C) Dyne | डाइन D) Pounds | पाउंड 11 / 3811. Which gauge indicates pressure valve above the atmospheric pressure? वायुमण्डलीय दबाव के ऊपर कौन सा गेज दबाव वाल्व को इंगित करता है? A) Pressure gauge | प्रेशर गेज B) Temperature gauge | तापमान गैज C) Receiver gauge | रिसीवर गेज D) Precision gauge | सटीक गेज 12 / 3812. What is the name of pneumatic symbol? | इस न्यूमेटिक प्रतीक का नाम क्या है? A) Filter | फ़िल्टर B) Lubricator | लूबकेटर C) Dryer | ड्रायर D) Pressure gauge | प्रेशर गेज 13 / 3813. Which valve is used to permit fluid flow in one direction and block flow in opposite direction? | एक ही दिशा में द्रव प्रवाह की अनुमति देने और विपरीत दिशा में प्रवाह को ब्लॉक करने के लिए किस वाल्व का उपयोग किया जाता है? A) Check valve | चेक वाल्व B) Shuttle valve | शटल वाल्व C) Orifice check valve | ऑरफिस चेक वाल्व D) Pressure relief valve | प्रेशर रिलीफ वाल्व 14 / 3814. Which valve has two inlet / one outlet in hydraulic or pneumatic system? | किस वाल्व में हाइड्रोलिक / न्यूमेटिक सिस्टम में दो इनलेट अथवा एक आउटलेट होता हैं? A) Slide valve | स्लाइड वाल्व B) Check valve | चेक वाल्व C) Shuttle valve | शटल वाल्व D) Solenoid valve | सोलेनोइड वाल्व 15 / 3815. What is the name of valve? | इस वाल्व का नाम क्या है? A) Flow control valve | प्रवाह नियंत्रण वाल्व B) Ball type check valve | बॉल टाइपचेक वाल्व C) Swing check valve | स्विंग चेक वाल्व D) Pressure type valve | प्रेशर टाइप वाल्व 16 / 3816. Which valve is used for mechanical position to sense in machine automation system? | मशीनऑटोमेशन सिस्टम में मैकेनिकल पोजीशन को सेंस करने के लिए किस यांत्रिक वाल्व का उपयोग किया जाता है? A) Pressure relief valve | प्रेशर रिलीफ वाल्व B) Roller valve | रोलर वाल्व C) Flow control valve | फ्लो कण्ट्रोल वाल्व D) Directional valve | दिशात्मक वाल्व 17 / 3817. Which term is a metric unit of pressure equal to 1,00,000 pascal? | 1,00,000 पास्कल के बराबर दबाव की एक मीट्रिक इकाई के लिए कौन सा शब्द है? A) Millibar | मिलीबार B) Kilo Pascal | किलो पास्कल C) Bar | बार D) Newton | न्यूटन 18 / 3818. Which system is used to move load with less efforts? | कम एफर्टस के साथ लोड को मूव करने के लिए किस शब्द का उपयोग किया जाता है? A) Pneumatics | न्यूमेटिक B) Hydraulics | हाइड्रोलिक C) Pressure | दबाव D) Flow of Air | वायु का प्रवाह 19 / 3819. Which energy is converted in hydraulic pump? | हाइड्रोलिक पंप में किस ऊर्जा को परिवर्तित किया जाता है? A) Thermal energy to hydraulic energy | थर्मल ऊर्जा को हाइड्रोलिक ऊर्जा में B) Electrical energy to hydraulic energy | विद्युत ऊर्जा को हाइड्रोलिक ऊर्जा मे C) Pneumatic energy to hydraulic energy | वायवीय ऊर्जा को हाइड्रोलिक ऊर्जा मे D) Mechanical energy to hydraulic energy | यांत्रिक ऊर्जा को हाइड्रोलिक ऊर्जा में 20 / 3820. What is the science that you study the properties and application of air? | वह विज्ञान क्या है जिसके तहत आप वायु के गुणों और अनुप्रयोग का अध्ययन करते हैं? A) Hydraulic System | हाइड्रॉलिक सिस्टम B) Pneumatic System | न्यूमेटिक प्रणाली C) Electrical System | विद्युत प्रणाली D) Mechanical System | मैकेनिकल सिस्टम 21 / 3821. Which parameter is specified to design hydromotor? | हाइड्रोमीटर को डिजाइन करने के लिए कौन सा पैरामीटर निर्दिष्ट किया जाता है? A) Maximum operating pressure | अधिकतम ऑपरेटिंग दबाव B) Maximum oil saving method | अधिकतम तेल की बचत विधि C) Maximum piston size | अधिकतम पिस्टन का साइज D) Maximum cylinder size | अधिकतम सिलेंडर साइज़ 22 / 3822. Which valve is used to remove the excess amount of oil in the hydraulic system? | हाइड्रोलिक सिस्टम में तेल की अतिरिक्त मात्रा को हटाने के लिए किस वाल्व का उपयोग किया जाता है? A) Pressure relief valve | प्रेशर रिलीफ वाल्व B) Pressure reducing valve | प्रेशर रिडूसिंग वाल्व C) Pressure regulator valve | प्रेशर रेगुलेटर वाल्व D) Roller valve | रोलर वाल्व 23 / 3823. Which valve is used to control the direction of the flow of fluid? | द्रव के प्रवाह की दिशा को नियंत्रित करने के लिए कौन से वाल्व का उपयोग किया जाता है? A) Flow control valve | प्रवाह नियंत्रण वाल्व B) Non - return valve | नॉन रिटर्न वाल्व C) Pressure control valve | दबाव नियंत्रण वाल्व D) Directional control valve | दिशात्मक नियंत्रण वाल्व 24 / 3824. Which actuation is under the applications of pneumatics? | वायुचलित के अनुप्रयोगों के नीचे कौन सा प्रवर्तन है? A) Drag | ड्रैग B) Push | पुश C) Close | बंद D) Open | खुला 25 / 3825. What is the name of part marked as 'x' in compressor? | कंप्रेसर मे' x के रूप में चिह्नित भाग का नाम क्या है? A) Relief valve | रिलीफ वाल्व B) Thermometer | थर्मामीटर C) Shut-off valve | शट ऑफ वाल्व D) Pressure gauge | प्रेशर गेज 26 / 3826. Which system uses liquid as transmitting fluid? | किस प्रणाली में तरल को संचरित द्रव के रूप में प्रयोग किया जाता है? A) Pneumatic system | न्यूमेटिक प्रणाली B) Hydraulic | हाइड्रोलिक C) Electrical | विद्युतीय D) Mechanical | यांत्रिक 27 / 3827. Which formula is used to calculate the pressure? | प्रेशर की गणना करने के लिए किस सूत्र का उपयोग किया जाता है? A) Force + Area | बल + क्षेत्रफल B) Force/Area | बल / क्षेत्रफल C) Force - Area | बल - क्षेत्रफल D) Force x Area | बल x क्षेत्रफल 28 / 3828. Which pressure value is measured with respect to perfect vacuum? | परफेक्ट वैक्यूम के संबंध में कौन सा दबाव मान मापा जाता है? A) Atmospheric Pressure | वायुमण्डलीय दबाव B) Absolute Pressure | परम दबाव C) Gauge Pressure | गेज दबाव D) Vacuum Pressure | निर्वात दबाव 29 / 3829. Which type of filter is used for trapping various sizes of particular matter? | विभिन्न आकारों के विशेष पदार्थ को फ़साने लिए किस प्रकार के फिल्टर का उपयोग किया जाता है? A) Mechanical filter | मैकेनिकल फिल्टर B) Absorbent filter | ऐब्सॉर्बन्ट फ़िल्टर C) Magnetic filter | चुंबकीय फिल्टर D) Suction filter | सक्शन फ़िल्टर 30 / 3830. What is the name of part marked as 'X' in double acting cylinder? | डबल एक्टिंग सिलेंडर मे 'x' चिह्नित भाग का नाम क्या है? A) Guide ring | गाइड रिंग B) Piston rod | पिस्टन रॉड C) Lock nut | लॉक नट D) Cylinder cap | सिलेंडर कैप 31 / 3831. How hydraulic transmission force is controlled? | हाइड्रोलिक ट्रांसमिशन बल कैसे नियंत्रित होता है? A) By air | हवा से B) By gears | गियर्स द्वारा C) By fluids | तरल पदार्थों द्वारा D) By electric | विद्युत द्वारा 32 / 3832. Which part of the single acting cylinder is attached with the load? | सिंगल एक्टिंग सिलेंडर का कौन सा भाग लोड के साथ जुड़ा होता है? A) Spring | स्प्रिंग B) Seal | सील C) Piston | पिस्टन D) Piston Rod | पिस्टन रॉड 33 / 3833. Which type of valve connections are opened or closed by means of spool slide? | स्पूल स्लाइड के माध्यम से किस प्रकार के वाल्व कनेक्शन को खोला या बंद किए जाते हैं? A) Check valve | चेक वाल्व B) Butterfly valve | बटरफ्लाई वाल्व C) Solenoid valve | सोलेनोइड वाल्व D) Non-return valve | नॉन रिटर्न वाल्व 34 / 3834. What is the name of the part marked as X in one way flow control valve? | एक तरह से प्रवाह नियंत्रण वाल्व में x के रूप में चिह्नित भाग का नाम क्या है? A) Throttling screw | शॉटलिंग स्क्रू B) Notch | नोच C) Opening of spring ball | स्प्रिंग बॉल की ओपनिंग D) Valve set | वाल्व सेट 35 / 3835. Which system gets compressed air as energy inputs? | कौन सी प्रणाली में ऊर्जा इनपुट के रूप मे संपीड़ित हवा (कंप्रेस्ड एयर) प्राप्त करती है? A) Hydraulic System | हाइड्रॉलिक सिस्टम B) Pneumatic System | न्यूमेटिक प्रणाली C) Electrical System | विद्युत प्रणाली D) Mechanical System | मैकेनिकल सिस्टम 36 / 3836. What is the type of direction control valve? | दिशा कंट्रोल वाल्व का प्रकार क्या है? A) 2/2 way valve B) 3/2 way valve C) 4/2 way valve D) 4/3 way valve 37 / 3837. Why in hydraulic pump the filter is installed in suction line? | हाइड्रोलिक पंप में फिल्टर सक्शन लाइन में क्यों फिट किया जाता है? A) Reduce the oil to enter | तेल का प्रवेश कम करने के लिए B) Preventing foreign matter | बाहरी पदार्थो को रोकना के लिए C) Reduce pressure in the pump | पंप में दबाव कम करने के लिए D) Increase the pressure in the pump | पंप में दबाव बढ़ाने के लिए 38 / 3838. What is the name of part marked as x? | X के रूप में चिह्नित भाग का नाम क्या है? A) Cylinder | सिलेंडर B) Piston | पिस्टन C) Spring | स्प्रिंग D) Inlet port | इनलेट पोर्ट Your score is Restart Exit