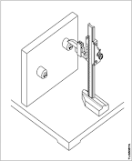
Boring – ITI NIMI Mock Test Turner Theory 2nd YearTest Boring (बोरिंग) – ITI NIMI Mock Test Turner Theory 2nd Year Boring - ITI NIMI Mock Test Turner Theory 2nd Year 1 / 251. Q. What is the operation? | ऑपरेशन क्या है? A) Checking the height of job | जॉब की ऊंचाई की जाँच करना B) Turning button with height gauge | ऊंचाई गेज के साथ टर्निंग बटन C) Marking button with height gauge | ऊंचाई गेज के साथ अंकन बटन D) Setting button with height gauge | ऊंचाई गेज के साथ सेटिंग बटन 2 / 252. Q. What is the use of inside micrometre? | इनसाइड माइक्रोमीटर का क्या उपयोग है? A) To measure the depth of hole | होल की गहराई मापने के लिए B) Measuring keyways and small slots | की-वे और छोटे स्लॉट मापना C) Measuring the external surface | बाहरी सतह को मापना D) Determine the distance between internal parallel surface | आंतरिक समानांतर सतह के बीच की दूरी निर्धारित करें 3 / 253. Q. What is the name of part marked as ‘X’ in telescopic gauge? | टेलीस्कोपिक गेज में 'X' के रूप में चिह्नित भाग का नाम क्या है? A) Measuring face | मापने वाला चेहरा B) Fixed leg | स्थिर लेग C) Telescopic leg | टेलीस्कोपिक लेग D) Plunger lock | प्लंजर लॉक 4 / 254. Q. Which thread is more suitable to hold the tool maker button in position? | टूल मेकर बटन को स्थिति में रखने के लिए कौन सा थ्रेड अधिक उपयुक्त है? A) 4BA thread B) 5BA thread C) 6BA thread D) 7BA thread 5 / 255. Q. How the two halves of split bearing is joined? | स्प्लिट बेयरिंग के दो हिस्सों को कैसे जोड़ा जाता है? A) On diameter line | व्यास रेखा पर B) On chord line | कॉर्ड लाइन पर C) On length vice | लंबाई पर वाइस D) On offset of shaft | शाफ्ट के ऑफसेट पर 6 / 256. Q. Which work holding device is more suitable for accurate boring using tool maker’s button? | टूल मेकर बटन का उपयोग करके सटीक बोरिंग के लिए कौन सा वर्क होल्डिंग डिवाइस अधिक उपयुक्त है? A) 3-Jaw chuck | 3-जबड़े चक B) Magnetic chuck | चुंबकीय चक C) Collect | इकट्ठा करना D) Face plate | फेस प्लेट 7 / 257. Q. What is the name of device? | डिवाइस का नाम क्या है? A) Ring gauge | रिंग गेज B) Fixture | फिक्सचर C) Drill jig | ड्रिल जिगो D) Tool maker's button | टूल मेकर का बटन 8 / 258. Q. What is the name of split bearing? | स्प्लिट बेयरिंग का नाम क्या है? A) Flanged pattern type | निकला हुआ किनारा पैटर्न प्रकार B) Parallel pattern type | समानांतर पैटर्न प्रकार C) Spherical pattern type | गोलाकार पैटर्न प्रकार D) Bush pattern type | बुश पैटर्न प्रकार 9 / 259. Q. What is the main use of using tool maker’s button for face boring? | फेस बोरिंग के लिए टूल मेकर के बटन का उपयोग करने का मुख्य उपयोग क्या है? A) Easy to use | प्रयोग करने में आसान B) Unskilled labour can do | अकुशल श्रमिक कर सकते हैं C) Truing is not necessary | सच करना जरूरी नहीं है D) Easy to set square to the axis of rotation | रोटेशन की धुरी पर वर्गाकार सेट करना आसान है 10 / 2510. Q. What is the name of part marked as ‘x’ in setting the tool makers button? | टूल मेकर बटन को सेट करने में 'x' के रूप में चिह्नित भाग का नाम क्या है? A) Surface plate | ऊपरी तल B) Angle plate | कोण प्लेट C) Gauge block | पैमाना ब्लॉक D) Pressure | दबाव 11 / 2511. Q. What is the length a spacing collar used in inside micrometer? | माइक्रोमीटर के अंदर उपयोग किए जाने वाले स्पेसिंग कॉलर की लंबाई कितनी होती है? A) 12 mm B) 13 mm C) 25 mm D) 38 mm 12 / 2512. Q. What is the name of instrument? | यंत्र का नाम क्या है? A) Plug gauge | प्लग गेज B) Bore dial gauge | बोर डायल गेज C) Telescopic gauge | टेलीस्कोपिक गेज D) Depth gauge | गहराई गेज 13 / 2513. Q. What is the maximum size of bore that can be checked with telescopic gauge? | बोर का अधिकतम आकार क्या है जिसे टेलीस्कोपिक गेज से जांचा जा सकता है? A) 152.4 mm B) 88.9 mm C) 53.9 mm D) 31.7 mm 14 / 2514. Q. What is the name of split bearing? | स्प्लिट बेयरिंग का नाम क्या है? A) Flanged pattern type | निकला हुआ किनारा पैटर्न प्रकार B) Parallel pattern type | समानांतर पैटर्न प्रकार C) Spherical pattern type | गोलाकार पैटर्न प्रकार D) Bush pattern type | बुश पैटर्न प्रकार 15 / 2515. Q. What is the least count of inside micrometre - metric? | आंतरिक माइक्रोमीटर - मीट्रिक की न्यूनतम संख्या क्या है? A) 0.1 mm B) 0.01 mm C) 0.001 mm D) 0.02 mm 16 / 2516. Q. What is the minimum size of bore that can be checked with telescopic gauge? | बोर का न्यूनतम आकार क्या है जिसे टेलीस्कोपिक गेज से जांचा जा सकता है? A) 12.7 mm B) 13.7 mm C) 19.00 mm D) 31.7 mm 17 / 2517. Q. . Which material is used to make the tool maker’s button? | टूल मेकर का बटन बनाने के लिए किस सामग्री का उपयोग किया जाता है? A) Hardened steel | कठोर इस्पात B) Tool steel | औजारों का स्टील C) Cast steel | कच्चा इस्पात D) Stainless steel | स्टेनलेस स्टील 18 / 2518. Q. What is the specific use of tool maker’s button in lathe operation? | लेथ ऑपरेशन में टूल मेकर के बटन का विशिष्ट उपयोग क्या है? A) For producing a tool to high degree accuracy | उच्च डिग्री सटीकता के लिए एक उपकरण तैयार करने के लिए B) For producing bore to a high degree of positional accuracy | उच्च स्तर की स्थितीय सटीकता के लिए बोर उत्पादन के लिए C) For producing a button to a high degree of positional accuracy | उच्च स्तर की स्थितीय सटीकता के लिए एक बटन बनाने के लिए D) For producing tool to a high degree of positional accuracy | उच्च स्तर की स्थितीय सटीकता के लिए उपकरण बनाने के लिए 19 / 2519. Q. What are the standard diameters of tool maker’s button? | टूल मेकर के बटन के मानक व्यास क्या हैं? A) 2mm, 4mm, 6mm B) 8mm, 10mm, 12mm C) 14mm, 16mm, 18mm D) 20mm, 22mm, 24mm 20 / 2520. Q. How many types of split bearing? | स्प्लिट बेयरिंग कितने प्रकार के होते हैं? A) 4 B) 3 C) 5 D) 2 21 / 2521. Q. What is the name of part marked as ‘X’ in telescopic gauge? | टेलीस्कोपिक गेज में 'X' के रूप में चिह्नित भाग का नाम क्या है? A) Measuring face | मापने वाला चेहरा B) Fixed leg | स्थिर लेग C) Telescopic leg | टेलीस्कोपिक लेग D) Plunger lock | प्लंजर लॉक 22 / 2522. Q. What is the name of part marked as ‘X’ in telescopic gauge? | टेलीस्कोपिक गेज में 'X' के रूप में चिह्नित भाग का नाम क्या है? A) Measuring face | मापने वाला चेहरा B) Fixed leg | स्थिर लेग C) Telescopic leg | टेलीस्कोपिक लेग D) Plunger lock | प्लंजर लॉक 23 / 2523. Q. What is the shape of telescopic gauge? | टेलीस्कोपिक गेज का आकार कैसा होता है? A) C - shaped B) U - shaped C) T - shaped D) S - shaped 24 / 2524. Q. What is the name of instrument? | यंत्र का नाम क्या है? A) Telescopic gauge | टेलीस्कोपिक गेज B) Inside micrometre | इनसाइड माइक्रोमीटर C) Bore dial gauge | बोर डायल गेज D) Micrometre external | बाहरी माइक्रोमीटर 25 / 2525. Q. Which one is used for producing a bore to a high degree of positional accuracy? | उच्च स्तर की स्थितीय सटीकता के लिए बोर बनाने के लिए किसका उपयोग किया जाता है? A) Reamer | रीमर B) Drill | ड्रिल C) Boring tool | बोरिंग टूल D) Tool maker's button | टूल मेकर का बटन Your score is Facebook Restart